#11.11# 华纳云:全场3折起,美国/香港云服务器 5M CN2低至24元/月,物理服务器 终身价688元/月,50M CN2或100M国际带宽可选(文内附带测评)
华纳云,成立于2015,隶属于香港联合通讯国际有限公司。是APNIC 和 ARIN 会员单位。
主营香港服务器、美国服务器、香港/美国OpenStack云服务器、香港/美国高防物理服务器/云服务器、香港高防IP、DNS污染处理、SSL证书、域名注册等多种服务。华纳云作为独立的、中立的全球云计算服务企业,已在香港、美国等多地建立骨干级云计算数据中心资源, 包括接入超100G网络带宽,超过数10余条的丰富网络带宽,BGP国际多线网络, 精品CN2 GIA、联通、移动点对点直连带宽以及国际顶尖品牌硬件。华纳云汇聚多名二十余年安防运维经验和多年服务器运营经验的人才。提供24小时客服支持,用户可以通过企业QQ、在线客服、电话和工单邮件等多种渠道进行咨询和请求技术支持,很方便。华纳云因为线路好,网络稳定,还有高防服务,所以受到不少用户好评。
华纳云【双11钜惠出海】活动现已开启,【1】美国/香港物理服务器低至688元/月:香港服务器专享10M CN2 GIA,美国服务器30M+20M CN2/100M国际带宽可选(送20G防御);【2】海外高防服务器30G防御低至1188元/月;【3】香港高防IP 2240元/月;【4】美国/香港云服务器,全场低至3折,香港云2M CN2 32元/月;美国云5M CN2低至24元/月(送10G防御),【5】美国高防云30G防御低至588元/月。
官方网站:点击进入
活动地址:https://hncloud.com/activity/2021/1111
香港云服务器:免备案低延迟,CN2带宽高速回国,PING值低至5ms
| 配置 | 带宽 | 年付3.5折 | 地址 |
| 1核1G | 2M(CN2三网直连) | 453.6 | 点击直达 |
| 2核2G | 2M(CN2三网直连) | 705.6 | 点击直达 |
| 2核4G | 2M(CN2三网直连) | 957.6 | 点击直达 |
| 4核4G | 5M(CN2三网直连) | 1545.6 | 点击直达 |
| 4核8G | 5M(CN2三网直连) | 2049.6 | 点击直达 |
| 8核16G | 5M(CN2三网直连) | 3561.6 | 点击直达 |
| 配置 | 带宽 | 年付3.5折 | 地址 |
| 1核1G | 5M(CN2三网直连) | 384 | 点击直达 |
| 2核2G | 5M(CN2三网直连) | 657.6 | 点击直达 |
| 2核4G | 5M(CN2三网直连) | 916.8 | 点击直达 |
| 4核4G | 10M(CN2三网直连) | 1924.8 | 点击直达 |
| 4核8G | 10M(CN2三网直连) | 2443.2 | 点击直达 |
| 8核16G | 10M(CN2三网直连) | 4056 | 点击直达 |
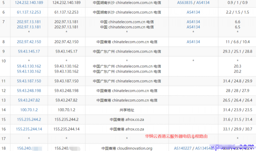
华纳云香港云服务器到国内的延迟40多ms,延迟很低,是三网直连的,下面看具体的三网路由:
华纳云香港云服务器电信去程在省内就开始走59.43的路由,回程也走59.43开头的路由,标准的电信CN2 GIA线路,电信延迟才33ms。联通往返也是直连,去程延迟甚至才25ms。移动去程回程也都是直连,延迟稍高,也只是刚过40ms。华纳云香港云服务器三网路由都非常好。
2、华纳云香港云服务器搭建网站
华纳云香港云服务器在安装宝塔面板并配置默认的LNMP环境之后,内存还有3.6G的剩余,硬盘只用了4.4GB,双核CPU再配上这么大的剩余内存,搭建网站的话硬件资源是非常富裕的。
总结:华纳云香港云服务器如官网宣传的一致,线路方面是CN2线路中非常优秀的电信CN2 GIA线路,三网直连,延迟非常低。Mbps的带宽对于香港机房CN2 GIA线路来说已经不小了,不管是用来搭建网站,还是玩游戏,也都会有非常不错的表现,还是很值得入手的。
赞(0)


