一、五折促销方案整理
首先为大家直接送上本次促销的ssd vps方案。蜗牛觉得前三款性价比真的很好了,特别是年付价格比较实惠,3核2G内存运行一般的网站项目完全够用了。如果只需要低配方案1核512M内存折后是12.5美元、相当于1美元/月,折合后大概是个7块钱左右每月,2核1G内存方案年付购入后不到2美元/月、14元左右了。确实是比较便宜的美国vps了。文章后面的测评蜗牛使用的是群内(QQ群1074630828)网友购入的1核512M内存方案,大家可以看看这个7块钱每月的vps性能、带宽到底怎么样。另外蜗牛也购入了一台2核1G内存的方案。- 终身5折优惠码:VPS50OFF(所有付款周期均可使用,永久续费享受五折优惠)
- 更换ip目前收费是5美元/次。
| CPU | 内存 | SSD | 带宽 | 流量 | ipv4 | 架构 | 价格 | 购买 |
| 1核 | 512MB | 25GB RAID10 | 1Gbps峰值 | 500GB | 1个 | kvm | 点击直达 | |
| 2核 | 1GB | 35GB RAID10 | 1Gbps峰值 | 1TB | 1个 | kvm | 点击直达 | |
| 3核 | 2GB | 45GB RAID10 | 1Gbps峰值 | 2TB | 1个 | kvm | 点击直达 | |
| 4核 | 4GB | 85GB RAID10 | 1Gbps峰值 | 3TB | 1个 | kvm | 点击直达 | |
| 5核 | 6GB | 120GB RAID10 | 1Gbps峰值 | 4TB | 1个 | kvm | 点击直达 | |
| 6核 | 8GB | 160GB RAID10 | 1Gbps峰值 | 5TB | 2个 | kvm | 点击直达 | |
| 7核 | 16GB | 320GB RAID10 | 1Gbps峰值 | 10TB | 2个 | kvm | 点击直达 | |
| 8核 | 32GB | 480GB RAID10 | 1Gbps峰值 | 15TB | 5个 | kvm | 点击直达 |
二、vps管理教程
PacificRack使用的是目前比较常见的WHMCS主机管理软件,其实很多朋友都知道怎么管理和使用,因为此系统是目前国外主机商家当中最常用的了。应网友要求还是简单介绍下WHMCS如何管理vps。 购买后如下图可以查看到自己的vps。
如果需要管理自己的vps点击上图“可用”哪个红框里的“产品服务”名称即可进入到如下图的管理页面。
同时我们的邮箱也会受到如下邮件,里面包含了vps的ipv4、root密码以及vps控制面板登陆信息。
vps控制面板功能介绍。蜗牛新开通的vps好像并没有自动安装系统,所有我们必须通过控制面板安装一下自己需要的系统。
三、PacificRack测评
上面说了,蜗牛拿的是群内网友开通的1核512M内存配置方案,并非商家专门提供的测试机器,所有测试结果真是有效。另外由于网络、性能都是动态的,服务器测评结果并不是保证机器长期就是这个水平。测试前已为机器安装bbr,补货为Linux系统服务器、vps开启bbr、锐速单边加速优化?这个脚本可以帮我们一键解决:#脚本分享#使用Linux网络优化加速一键脚本快速为VPS提速[一键安装Lotserver(锐速)/BBR/BBR魔改版/暴力BBR魔改版]。 1、基本信息测试。
2、网络信息测试。
3、cpu、内存、硬盘性能测试。
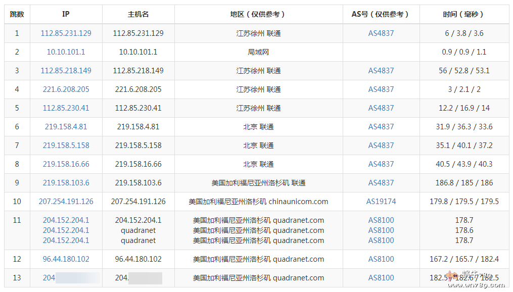
4、接下看看去程路由追踪情况。
电信去程cn2 gt直连
联通去程骨干直连。
移动去程路直连。
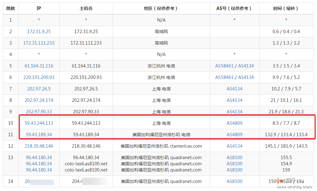
5、回程路由追踪情况。电信回程也是cn2 gt,联通回程骨干直连,移动也是直连。
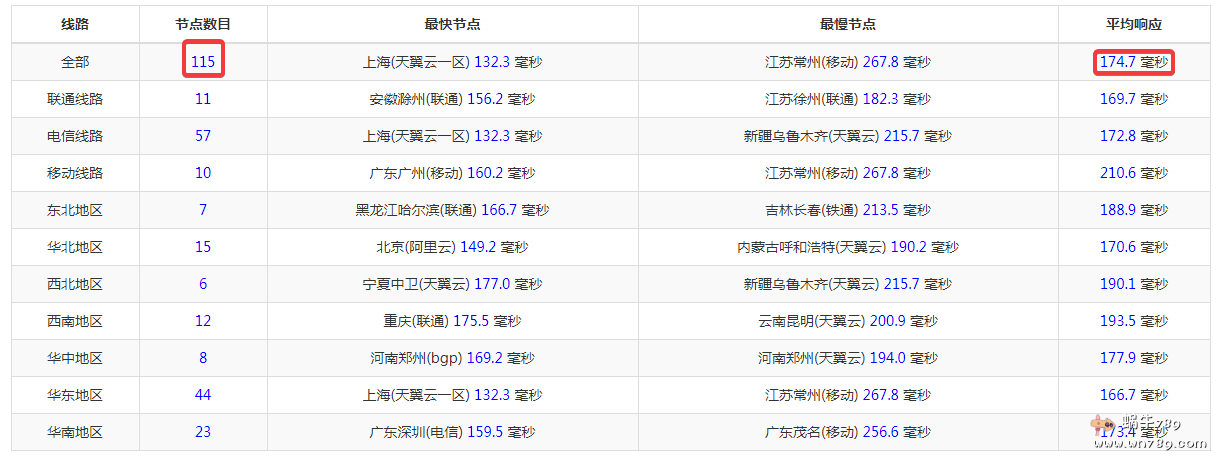
---------------------------------------------------------------------- 北京电信 traceroute to 220.181.22.1 (220.181.22.1), 30 hops max, 60 byte packets 1 96.44.140.33.static.quadranet.com (96.44.140.33) 85.84 ms AS8100 United States California Los Angeles quadranet.com 2 colo-lax6.as8100.net (96.44.180.101) 0.84 ms AS8100 United States California Los Angeles quadranet.com 3 96.44.163.153.static.quadranet.com (96.44.163.153) 16.59 ms AS8100 United States California Los Angeles quadranet.com 4 218.30.48.145 43.90 ms AS4134 United States California Los Angeles ctamericas.com 5 59.43.189.33 127.64 ms AS4809 China Shanghai ChinaTelecom 6 59.43.247.125 157.79 ms AS4809 China Beijing ChinaTelecom 7 59.43.246.154 162.11 ms AS4809 China Beijing ChinaTelecom 8 202.97.12.57 160.30 ms AS4134 China Beijing ChinaTelecom 9 202.97.18.209 166.63 ms AS4134 China Beijing ChinaTelecom 10 * 11 * 12 * 13 220.181.22.1 169.86 ms AS23724 China Beijing ChinaTelecom ---------------------------------------------------------------------- 辽宁联通 traceroute to 220.201.8.6 (220.201.8.6), 30 hops max, 60 byte packets 1 96.44.140.33.static.quadranet.com (96.44.140.33) 3.11 ms AS8100 United States California Los Angeles quadranet.com 2 colo-lax6.as8100.net (96.44.180.101) 19.93 ms AS8100 United States California Los Angeles quadranet.com 3 china.unicom (204.152.204.2) 21.61 ms AS8100 United States California Los Angeles quadranet.com 4 207.254.191.102 3.46 ms AS19174 United States California Los Angeles chinaunicom.com 5 219.158.97.209 163.98 ms AS4837 China Guangdong Guangzhou ChinaUnicom 6 219.158.98.93 158.47 ms AS4837 China Guangdong Guangzhou ChinaUnicom 7 219.158.24.125 167.05 ms AS4837 China Guangdong Guangzhou ChinaUnicom 8 219.158.107.126 188.21 ms AS4837 China Liaoning Shenyang ChinaUnicom 9 218.61.254.106 181.47 ms AS4837 China Liaoning Shenyang ChinaUnicom 10 218.61.254.202 183.05 ms AS4837 China Liaoning Shenyang ChinaUnicom 11 218.61.252.150 185.72 ms AS4837 China Liaoning Shenyang ChinaUnicom 12 * 13 * 14 * 15 220.201.8.6 191.07 ms AS4837 China Liaoning ChinaUnicom ---------------------------------------------------------------------- 北京移动 traceroute to 221.130.33.1 (221.130.33.1), 30 hops max, 60 byte packets 1 96.44.140.33.static.quadranet.com (96.44.140.33) 1.32 ms AS8100 United States California Los Angeles quadranet.com 2 colo-lax6.as8100.net (96.44.180.101) 23.93 ms AS8100 United States California Los Angeles quadranet.com 3 223.119.64.245 1.17 ms AS58453 United States ChinaMobile 4 223.120.6.17 0.87 ms AS58453 United States California Los Angeles ChinaMobile 5 223.120.6.126 0.79 ms AS58453 United States California Los Angeles ChinaMobile 6 223.120.13.82 211.97 ms AS58453 China Guangdong Guangzhou ChinaMobile 7 221.183.55.106 212.83 ms AS9808 China Beijing ChinaMobile 8 221.183.46.250 221.62 ms AS9808 China Beijing ChinaMobile 9 221.176.21.229 217.89 ms AS9808 China Beijing ChinaMobile 10 * 11 221.130.33.1 223.73 ms AS56048 China Beijing ChinaMobile ---------------------------------------------------------------------- 杭州电信 traceroute to 60.176.0.1 (60.176.0.1), 30 hops max, 60 byte packets 1 96.44.140.33.static.quadranet.com (96.44.140.33) 1.28 ms AS8100 United States California Los Angeles quadranet.com 2 colo-lax6.as8100.net (96.44.180.33) 24.61 ms AS8100 United States California Los Angeles quadranet.com 3 218.30.48.145 48.43 ms AS4134 United States California Los Angeles ctamericas.com 4 59.43.246.237 127.64 ms AS4809 China Shanghai ChinaTelecom 5 59.43.244.114 131.94 ms AS4809 China Shanghai ChinaTelecom 6 * 7 * 8 202.97.26.18 137.63 ms AS4134 China Zhejiang Hangzhou ChinaTelecom 9 220.191.143.162 135.04 ms AS4134 China Zhejiang Hangzhou ChinaTelecom 10 1.0.176.60.broad.hz.zj.dynamic.163data.com.cn (60.176.0.1) 134.77 ms AS4134 China Zhejiang Hangzhou ChinaTelecom ---------------------------------------------------------------------- 宁波联通 traceroute to 60.12.17.1 (60.12.17.1), 30 hops max, 60 byte packets 1 96.44.140.33.static.quadranet.com (96.44.140.33) 1.20 ms AS8100 United States California Los Angeles quadranet.com 2 colo-lax6.as8100.net (96.44.180.33) 20.06 ms AS8100 United States California Los Angeles quadranet.com 3 96.44.163.152.static.quadranet.com (96.44.163.152) 7.59 ms AS8100 United States California Los Angeles quadranet.com 4 china.unicom (204.152.204.2) 1.87 ms AS8100 United States California Los Angeles quadranet.com 5 207.254.191.102 0.70 ms AS19174 United States California Los Angeles chinaunicom.com 6 219.158.97.209 171.49 ms AS4837 China Guangdong Guangzhou ChinaUnicom 7 219.158.103.33 168.31 ms AS4837 China Guangdong Guangzhou ChinaUnicom 8 219.158.103.217 172.90 ms AS4837 China Guangdong Guangzhou ChinaUnicom 9 219.158.6.158 179.73 ms AS4837 China Zhejiang Hangzhou ChinaUnicom 10 * 11 * 12 60.12.17.1 189.33 ms AS4837 China Zhejiang Ningbo ChinaUnicom ---------------------------------------------------------------------- 杭州移动 traceroute to 211.140.0.2 (211.140.0.2), 30 hops max, 60 byte packets 1 96.44.140.33.static.quadranet.com (96.44.140.33) 47.11 ms AS8100 United States California Los Angeles quadranet.com 2 colo-lax6.as8100.net (96.44.180.101) 24.66 ms AS8100 United States California Los Angeles quadranet.com 3 223.119.64.245 3.38 ms AS58453 United States ChinaMobile 4 223.120.6.17 0.96 ms AS58453 United States California Los Angeles ChinaMobile 5 223.120.13.46 182.33 ms AS58453 China ChinaMobile 6 221.183.55.34 184.06 ms AS9808 China Shanghai ChinaMobile 7 221.183.25.193 197.77 ms AS9808 China Shanghai ChinaMobile 8 221.183.23.37 197.21 ms AS9808 China Shanghai ChinaMobile 9 221.176.27.169 198.46 ms AS9808 China Zhejiang Hangzhou ChinaMobile 10 211.140.0.2 203.32 ms AS56041 China Zhejiang Hangzhou ChinaMobile ---------------------------------------------------------------------- 贵阳电信 traceroute to 58.42.224.1 (58.42.224.1), 30 hops max, 60 byte packets 1 96.44.140.33.static.quadranet.com (96.44.140.33) 0.87 ms AS8100 United States California Los Angeles quadranet.com 2 colo-lax6.as8100.net (96.44.180.33) 0.35 ms AS8100 United States California Los Angeles quadranet.com 3 218.30.48.145 1.27 ms AS4134 United States California Los Angeles ctamericas.com 4 59.43.246.233 155.37 ms AS4809 China Guangdong Guangzhou ChinaTelecom 5 59.43.244.130 159.05 ms AS4809 China Guangdong Guangzhou ChinaTelecom 6 202.97.12.26 157.84 ms AS4134 China Guangdong Guangzhou ChinaTelecom 7 * 8 202.97.69.90 185.49 ms * China Guizhou Guiyang ChinaTelecom 9 61.189.177.98 184.94 ms AS4134 China Guizhou Guiyang ChinaTelecom 10 59.51.187.141 185.59 ms AS4134 China Guizhou Guiyang ChinaTelecom 11 58.42.224.1 185.41 ms AS4134 China Guizhou Guiyang ChinaTelecom ---------------------------------------------------------------------- 贵阳联通 traceroute to 58.16.28.1 (58.16.28.1), 30 hops max, 60 byte packets 1 96.44.140.33.static.quadranet.com (96.44.140.33) 0.64 ms AS8100 United States California Los Angeles quadranet.com 2 colo-lax6.as8100.net (96.44.180.101) 0.40 ms AS8100 United States California Los Angeles quadranet.com 3 china.unicom (204.152.204.2) 0.66 ms AS8100 United States California Los Angeles quadranet.com 4 207.254.191.102 0.79 ms AS19174 United States California Los Angeles chinaunicom.com 5 219.158.96.233 160.84 ms AS4837 China Guangdong Guangzhou ChinaUnicom 6 219.158.103.37 169.80 ms AS4837 China Guangdong Guangzhou ChinaUnicom 7 219.158.8.121 179.20 ms AS4837 China Guangdong Guangzhou ChinaUnicom 8 219.158.105.34 181.89 ms AS4837 China Guizhou Guiyang ChinaUnicom 9 221.13.29.218 186.94 ms AS4837 China Guizhou Guiyang ChinaUnicom 10 * 11 58.16.28.1 184.69 ms AS4837 China Guizhou Guiyang ChinaUnicom ---------------------------------------------------------------------- 贵阳移动 traceroute to 211.139.0.10 (211.139.0.10), 30 hops max, 60 byte packets 1 96.44.140.33.static.quadranet.com (96.44.140.33) 0.51 ms AS8100 United States California Los Angeles quadranet.com 2 colo-lax6.as8100.net (96.44.180.101) 0.93 ms AS8100 United States California Los Angeles quadranet.com 3 223.119.64.245 1.02 ms AS58453 United States ChinaMobile 4 223.120.6.17 0.88 ms AS58453 United States California Los Angeles ChinaMobile 5 223.120.12.106 157.74 ms AS58453 China Guangdong Guangzhou ChinaMobile 6 221.183.55.82 169.98 ms AS9808 China Guangdong Guangzhou ChinaMobile 7 221.183.25.122 182.52 ms AS9808 China Guangdong Guangzhou ChinaMobile 8 221.176.18.109 200.52 ms AS9808 China Guangdong Guangzhou ChinaMobile 9 221.183.23.238 205.76 ms AS9808 China Guizhou Guiyang ChinaMobile 10 * 11 ns2.gz.chinamobile.com (211.139.13.130) 218.22 ms AS9808 China Guizhou Guiyang ChinaMobile 12 ns2.gz.chinamobile.com (211.139.0.10) 204.76 ms AS9808 China Guizhou Guiyang ChinaMobile ---------------------------------------------------------------------- 广州电信 traceroute to 14.215.116.1 (14.215.116.1), 30 hops max, 60 byte packets 1 96.44.140.33.static.quadranet.com (96.44.140.33) 0.61 ms AS8100 United States California Los Angeles quadranet.com 2 colo-lax6.as8100.net (96.44.180.101) 1.05 ms AS8100 United States California Los Angeles quadranet.com 3 96.44.163.153.static.quadranet.com (96.44.163.153) 0.32 ms AS8100 United States California Los Angeles quadranet.com 4 218.30.48.145 1.13 ms AS4134 United States California Los Angeles ctamericas.com 5 59.43.246.233 155.01 ms AS4809 China Guangdong Guangzhou ChinaTelecom 6 59.43.244.134 166.23 ms AS4809 China Guangdong Guangzhou ChinaTelecom 7 202.97.12.26 157.87 ms AS4134 China Guangdong Guangzhou ChinaTelecom 8 202.97.94.125 170.93 ms AS4134 China Guangdong Guangzhou ChinaTelecom 9 183.59.13.161 165.87 ms AS58543 China Guangdong Guangzhou ChinaTelecom 10 * 11 14.215.116.1 166.43 ms AS58543 China Guangdong Guangzhou ChinaTelecom ---------------------------------------------------------------------- 深圳联通 traceroute to 58.250.0.1 (58.250.0.1), 30 hops max, 60 byte packets 1 96.44.140.33.static.quadranet.com (96.44.140.33) 0.65 ms AS8100 United States California Los Angeles quadranet.com 2 colo-lax6.as8100.net (96.44.180.101) 1.72 ms AS8100 United States California Los Angeles quadranet.com 3 china.unicom (204.152.204.2) 0.96 ms AS8100 United States California Los Angeles quadranet.com 4 207.254.191.42 8.96 ms AS19174 United States California Los Angeles chinaunicom.com 5 219.158.102.125 152.83 ms AS4837 China Beijing ChinaUnicom 6 219.158.3.181 158.10 ms AS4837 China Beijing ChinaUnicom 7 219.158.4.173 150.70 ms AS4837 China Beijing ChinaUnicom 8 219.158.112.26 174.24 ms AS4837 China Guangdong Guangzhou ChinaUnicom 9 120.84.0.86 176.73 ms AS17816 China Guangdong Shenzhen ChinaUnicom 10 58.250.0.1 170.10 ms AS17623 China Guangdong Shenzhen ChinaUnicom ---------------------------------------------------------------------- 广州移动 traceroute to 211.139.145.34 (211.139.145.34), 30 hops max, 60 byte packets 1 96.44.140.33.static.quadranet.com (96.44.140.33) 0.84 ms AS8100 United States California Los Angeles quadranet.com 2 colo-lax6.as8100.net (96.44.180.101) 18.22 ms AS8100 United States California Los Angeles quadranet.com 3 te0-0-0-1-9.ccr41.lax04.atlas.cogentco.com (38.104.82.217) 0.92 ms AS174 United States California Los Angeles cogentco.com 4 be3360.ccr42.lax01.atlas.cogentco.com (154.54.25.149) 0.61 ms AS174 United States California Los Angeles cogentco.com 5 be2932.ccr32.phx01.atlas.cogentco.com (154.54.45.161) 12.73 ms AS174 United States Arizona Phoenix cogentco.com 6 be2930.ccr21.elp01.atlas.cogentco.com (154.54.42.78) 21.07 ms AS174 United States Texas El Paso cogentco.com 7 be2927.ccr41.iah01.atlas.cogentco.com (154.54.29.221) 36.99 ms AS174 United States Texas Houston cogentco.com 8 be2687.ccr41.atl01.atlas.cogentco.com (154.54.28.69) 53.88 ms AS174 COGENTCO.COM BACKBONE cogentco.com 9 be2112.ccr41.dca01.atlas.cogentco.com (154.54.7.157) 61.57 ms AS174 United States Virginia Arlington cogentco.com 10 be2806.ccr41.jfk02.atlas.cogentco.com (154.54.40.105) 67.40 ms AS174 United States New York New York City cogentco.com 11 be2317.ccr41.lon13.atlas.cogentco.com (154.54.30.186) 138.05 ms AS174 United Kingdom London cogentco.com 12 be2868.ccr21.lon01.atlas.cogentco.com (154.54.57.154) 138.25 ms AS174 United Kingdom London cogentco.com 13 ldn-b1-link.telia.net (62.115.9.28) 137.58 ms AS1299 TELIA.COM BACKBONE telia.com 14 ldn-bb3-link.telia.net (62.115.114.234) 150.11 ms AS1299 United Kingdom London telia.com 15 prs-bb3-link.telia.net (62.115.134.92) 154.56 ms AS1299 TELIA.COM BACKBONE telia.com 16 ffm-bb3-link.telia.net (62.115.123.12) 149.82 ms AS1299 Germany Hesse Frankfurt telia.com 17 * 18 chinamobile-ic-327138-ffm-b1.c.telia.net (62.115.37.159) 151.04 ms AS1299 TELIA.COM BACKBONE telia.com 19 223.120.10.121 151.19 ms AS58453 Germany Hesse Frankfurt ChinaMobile 20 223.120.15.158 262.49 ms AS58453 China Guangdong Guangzhou ChinaMobile 21 221.183.55.54 264.00 ms AS9808 China Guangdong Guangzhou ChinaMobile 22 221.176.19.33 260.20 ms AS9808 China Guangdong Guangzhou ChinaMobile 23 221.176.24.5 266.70 ms AS9808 China Guangdong Guangzhou ChinaMobile 24 221.183.38.170 271.64 ms AS9808 China Guangdong Guangzhou ChinaMobile 25 211.136.203.26 271.58 ms AS56040 China Guangdong Guangzhou ChinaMobile 26 211.139.145.34 306.88 ms AS56040 China Guangdong Guangzhou ChinaMobile ---------------------------------------------------------------------- 上海电信 traceroute to 101.95.120.109 (101.95.120.109), 30 hops max, 60 byte packets 1 96.44.140.33.static.quadranet.com (96.44.140.33) 1.41 ms AS8100 United States California Los Angeles quadranet.com 2 colo-lax6.as8100.net (96.44.180.33) 32.04 ms AS8100 United States California Los Angeles quadranet.com 3 218.30.48.145 23.48 ms AS4134 United States California Los Angeles ctamericas.com 4 59.43.246.237 139.89 ms AS4809 China Shanghai ChinaTelecom 5 59.43.244.114 132.35 ms AS4809 China Shanghai ChinaTelecom 6 202.97.51.242 130.67 ms AS4134 China Shanghai ChinaTelecom 7 * 8 61.152.24.5 143.25 ms AS4812 China Shanghai ChinaTelecom 9 101.95.120.109 144.85 ms AS4812 China Shanghai ChinaTelecom ---------------------------------------------------------------------- 上海联通 traceroute to 211.95.72.254 (211.95.72.254), 30 hops max, 60 byte packets 1 96.44.140.33.static.quadranet.com (96.44.140.33) 0.78 ms AS8100 United States California Los Angeles quadranet.com 2 colo-lax6.as8100.net (96.44.180.101) 12.74 ms AS8100 United States California Los Angeles quadranet.com 3 china.unicom (204.152.204.2) 0.76 ms AS8100 United States California Los Angeles quadranet.com 4 207.254.191.102 1.60 ms AS19174 United States California Los Angeles chinaunicom.com 5 219.158.97.205 166.56 ms AS4837 China Guangdong Guangzhou ChinaUnicom 6 219.158.24.137 165.76 ms AS4837 China Guangdong Guangzhou ChinaUnicom 7 219.158.24.125 171.70 ms AS4837 China Guangdong Guangzhou ChinaUnicom 8 219.158.6.233 180.72 ms AS4837 China Shanghai ChinaUnicom 9 * 10 139.226.208.238 181.20 ms AS17621 China Shanghai ChinaUnicom 11 * 12 140.207.207.186 189.33 ms AS17621 China Shanghai ChinaUnicom 13 211.95.72.254 181.47 ms AS17621 China Shanghai ChinaUnicom ---------------------------------------------------------------------- 上海移动 traceroute to 183.192.160.3 (183.192.160.3), 30 hops max, 60 byte packets 1 96.44.140.33.static.quadranet.com (96.44.140.33) 1.21 ms AS8100 United States California Los Angeles quadranet.com 2 colo-lax6.as8100.net (96.44.180.33) 21.20 ms AS8100 United States California Los Angeles quadranet.com 3 96.44.163.152.static.quadranet.com (96.44.163.152) 1.16 ms AS8100 United States California Los Angeles quadranet.com 4 223.119.64.245 6.07 ms AS58453 United States ChinaMobile 5 223.120.6.17 0.92 ms AS58453 United States California Los Angeles ChinaMobile 6 223.120.13.46 184.68 ms AS58453 China ChinaMobile 7 221.183.55.30 183.48 ms AS9808 China Shanghai ChinaMobile 8 221.183.25.189 199.93 ms AS9808 China Shanghai ChinaMobile 9 221.176.17.177 197.21 ms AS9808 China Shanghai ChinaMobile 10 * 11 117.185.10.122 198.61 ms AS9808 China Shanghai ChinaMobile 12 120.204.194.6 203.27 ms AS9808 China Shanghai ChinaMobile 13 120.204.194.14 205.50 ms AS9808 China Shanghai ChinaMobile 14 183.192.160.3 197.97 ms AS9808 China Shanghai ChinaMobile ---------------------------------------------------------------------- 成都教育网 traceroute to 202.112.14.151 (202.112.14.151), 30 hops max, 60 byte packets 1 96.44.140.33.static.quadranet.com (96.44.140.33) 2.34 ms AS8100 United States California Los Angeles quadranet.com 2 colo-lax6.as8100.net (96.44.180.33) 21.05 ms AS8100 United States California Los Angeles quadranet.com 3 218.30.48.145 2.93 ms AS4134 United States California Los Angeles ctamericas.com 4 59.43.248.106 50.83 ms AS4809 United States California San Jose ChinaTelecom 5 59.43.182.146 175.71 ms AS4809 China Shanghai ChinaTelecom 6 59.43.247.101 192.61 ms AS4809 China Beijing ChinaTelecom 7 59.43.246.162 167.14 ms AS4809 China Guangdong Guangzhou ChinaTelecom 8 202.97.84.9 177.05 ms AS4134 China Beijing ChinaTelecom 9 202.97.53.13 177.91 ms AS4134 China Beijing ChinaTelecom 10 202.97.34.134 179.64 ms AS4134 China Shanghai ChinaTelecom 11 202.97.46.2 182.97 ms AS4134 China Shanghai ChinaTelecom 12 * 13 101.4.118.54 235.63 ms AS4538 China Shanghai CHINAEDU 14 101.4.112.41 250.42 ms AS4538 China Jiangsu Nanjing CHINAEDU 15 101.4.117.25 253.08 ms AS4538 China Anhui Hefei CHINAEDU 16 101.4.112.61 244.46 ms AS4538 China Hubei Wuhan CHINAEDU 17 * 18 101.4.117.53 278.34 ms AS4538 China Chongqing CHINAEDU 19 101.4.116.90 274.68 ms AS4538 China Sichuan Chengdu CHINAEDU 20 202.115.255.250 288.22 ms AS4538 China Sichuan Chengdu CHINAEDU 21 202.115.254.246 292.25 ms AS4538 China Sichuan Chengdu CHINAEDU 22 * 23 * 24 dns.uestc.edu.cn (202.112.14.151) 286.58 ms AS24355 China Sichuan Chengdu CHINAEDU ----------------------------------------------------------------------6、国内115个节点的ping测试结果。晚上7:30能跑到这个速度不错了,而且三网节点的最低、最高ping值相差不是很大。
7、测试下vps到国内电信、联通、移动的上传及下载速度。Speedtest.net节点上行、下行都超过了700Mbps,所以服务器分配的是G扣带宽没有问题。
---------------------------------------------------------------------- CPU Model : QEMU Virtual CPU version 2.5+ CPU Cores : 2 Cores @ 2000.000 MHz x86_64 CPU Cache : 16384 KB OS : CentOS 6.10 (64 Bit) KVM Kernel : 4.11.8-1.el6.elrepo.x86_64 Total Space : 1.0 GB / 34.0 GB Total RAM : 122 MB / 991 MB (6 MB Buff) Total SWAP : 0 MB / 1023 MB Uptime : 0 days 0 hour 0 min Load Average : 0.29, 0.08, 0.03 TCP CC : tsunami ASN & ISP : AS8100, QuadraNet Enterprises LLC Organization : QuadraNet Location : Los Angeles, United States / US Region : California ---------------------------------------------------------------------- I/O Speed( 1.0GB ) : 223 MB/s I/O Speed( 1.0GB ) : 313 MB/s I/O Speed( 1.0GB ) : 321 MB/s Average I/O Speed : 285.7 MB/s ---------------------------------------------------------------------- Node Name Upload Speed Download Speed Latency Speedtest.net 786.48 Mbit/s 926.99 Mbit/s 2.224 ms Fast.com 0.00 Mbit/s 148.6 Mbit/s - Wuhan1 CT 32.64 Mbit/s 38.87 Mbit/s - Wuhan CT 7.23 Mbit/s 11.55 Mbit/s - Lianyungang CT 108.52 Mbit/s 197.37 Mbit/s - Hangzhou CT 56.25 Mbit/s 55.21 Mbit/s - Suzhou CT 96.60 Mbit/s 25.61 Mbit/s - Hefei CT 104.26 Mbit/s 193.33 Mbit/s - Wuhan2 CT 4.25 Mbit/s 14.39 Mbit/s - ChongQing CT 8.79 Mbit/s 16.20 Mbit/s - Lanzhou CT 11.79 Mbit/s 21.48 Mbit/s - Kunming CU 58.58 Mbit/s 15.01 Mbit/s - Chengdu CU 80.62 Mbit/s 120.04 Mbit/s - Nanning CU 51.09 Mbit/s 73.24 Mbit/s - Lanzhou CU 51.70 Mbit/s 44.01 Mbit/s - Ningxia CU 52.16 Mbit/s 13.67 Mbit/s - Wuhan CU 113.60 Mbit/s 113.25 Mbit/s - Hefei CU 63.94 Mbit/s 55.78 Mbit/s - Beijing CU 123.38 Mbit/s 134.57 Mbit/s - Nanjing CU 65.07 Mbit/s 41.24 Mbit/s - ShangHai CU 112.02 Mbit/s 93.28 Mbit/s - Shanghai CU 111.50 Mbit/s 262.89 Mbit/s - ShangHai5G CU 115.47 Mbit/s 79.85 Mbit/s - Changchun CU 4.15 Mbit/s 43.78 Mbit/s - Xi an CU 89.31 Mbit/s 83.09 Mbit/s - Hangzhou CM 18.92 Mbit/s 132.87 Mbit/s - Ningbo CM 21.23 Mbit/s 149.25 Mbit/s - Shenyang CM 11.37 Mbit/s 56.90 Mbit/s - Guangzhou CM 10.78 Mbit/s 45.40 Mbit/s - Kashi CM 5.09 Mbit/s 24.62 Mbit/s - Hetian CM 14.15 Mbit/s 30.30 Mbit/s - Lasa CM 6.16 Mbit/s 9.96 Mbit/s - Wulumuqi CM 18.51 Mbit/s 35.51 Mbit/s - Nanning CM 108.50 Mbit/s 156.87 Mbit/s - Lanzhou CM 23.27 Mbit/s 65.33 Mbit/s - Chongqing CCN 13.01 Mbit/s 68.68 Mbit/s - ---------------------------------------------------------------------- Finished in : 14 min 34 sec Timestamp : 2019-11-13 07:30:46 GMT+8 Results : /root/superbench.log ----------------------------------------------------------------------8、看看服务器本地的下行带宽速度。美国部分节点能跑到60mb/s,下行是G扣也是没有毛病的。
9、应网友要求,给服务器安装了宝塔linux面板,下面是跑分结果。
赞(0)


